- 西部数码代理“企尚互联”首页
- 客服中心
- 新闻中心
- 关于暂停解析未实名存量域名的重要通知!
尊敬的西数用户:
您好!
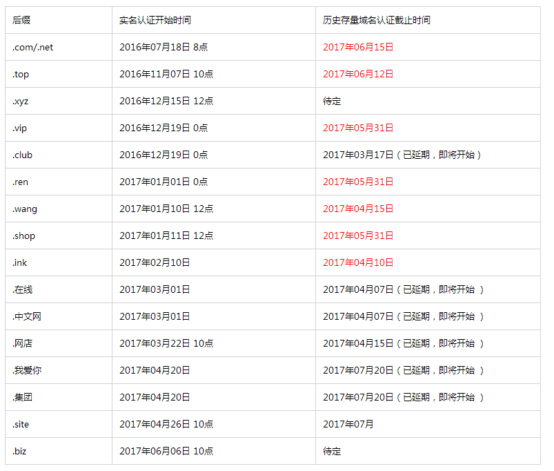
接相关注册局及工信部通知,根据《中国互联网络域名管理办法》的规定,域名注册申请者应提交真实、准确、完整的域名注册信息,对于不符合上述规定的域名,将依法予以注销。 因此,要求 .cn/.com/.net/.top/.xyz/.vip/.club/.ren/.wang/.shop/.ink/.site/.biz/.xin/.中国/.信息/.集团/.我爱你/.网店/.在线/.中文网/.公司/.网络/.广东/.佛山 后缀域名进行实名认证。
开启实名制后,若域名未在规定时间内(新注册域名需在注册后5天内,存量域名时间见下表)完成实名认证,将被注册局暂停解析,域名不能正常访问,通过后会自动恢复。暂停解析未实名的存量域名,会对已建站的域名造成影响,为避免带来不必要的损失,请尽快完成实名。
以下域名注册局已确定暂停解析未实名的存量域名的时间,届时若您的网站无法打开,请核实域名实名状态。
1、.wang/.vip/.ren/.ink/.shop 未实名的存量,已经开始暂停解析,执行时间见下表中“历史存量域名认证截止时间”。
2、.com/.net 将于2017年06月15日开始暂停解析。
3、.top 将于2017年06月12日暂停解析。
4、其他后缀也会陆续开始暂停解析,请检查账户下域名情况,及时完成实名。

若有疑问,可联系我司在线客服(企业QQ:800019263)或提交有问必答咨询。非常感谢您的理解和支持,谢谢!相关参考文档:

